
集中电源集中控制型防爆消防应急照明灯具通常有2种工作状态:正常,应急。具有故障检测功能,故障信息通过总线上传到应急照明分配电装置,应急照明分配电装置再上传到应急照明控制器。照明灯采用电子编码方式。受应急照明控制器的控制可使照明灯改变工作状态。照明灯的光源故障、通讯故障等可在应急照明控制器上显示。
总线电压:DC24V或DC36V,允许范围: DC21V~DC36V

执行标准:GB 17945-2010一、结构特征与工作原理
l1.照明灯外形示意图。

图1S2012外形示意图

图2 S2082外形示意图
l照明灯工作原理:照明灯正常处于熄灭状态,当发生紧急情况时,转入应急状态,应急状态时常亮。 二、安装与布线
警告:安装设备之前,请切断回路的电源。电线接头需要进行防水、绝缘处理。
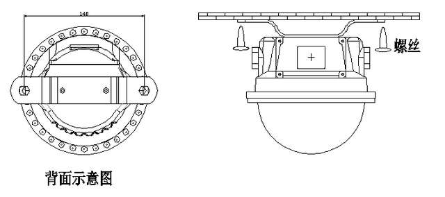
安装示意图。


图3照明灯安装示意图
l接线说明:WLE(1~8)、WLE—:信号总线,无极性。
l布线要求:推荐使用截面积≥2.5mm2的RV型铜线。布线应与动力电缆、高低压配电电缆等不同电压等级的电缆分开布置,不能布设在同一穿线管或线槽内。 三、测试与日常维护
警告:待全部设备都安装完毕后再接通电源。(需检测确定线路没有接地现象方可通电)
l照明灯安装结束后必须进行测试,使用过程中每年至少进行一次测试。
l照明灯在进行测试之前,应通知有关管理部门,系统将进行维护,会因此而临时停止工作。同时应切断将进行维护的区域或系统的逻辑控制功能,以免造成不必要的报警联动。
l照明灯注册后,通过主机对之启动、停动,照明灯应能按主机指令执行。
l测试结束后,通过主机复位照明灯,并通知有关管理部门系统恢复正常。
l在测试过程中不合格的照明灯检验其连接线是否正常,然后再进行测试,如仍不能通过测试则应返回维修。
l光源更换方法:断开灯具连线,打开外壳,将损坏光源从电路板拆下,将正常光源接入电路板,装配好外壳,接通灯具连线。 四、应用方法
照明灯与应急照明分配电装置连接,实现应急状态照明的作用。应急照明分配电装置有多组端口,下图以第一组端口为例。
注意:
l同一个应急照明分配电装置各个端口的灯具地址不能重复。
总线电压要在灯具点亮的情况下高于灯具最小工作电压,否则灯具启动后,电缆压降过大将会造成灯具不能正常工作并影响通信

五、报废
产品报废应按GB 29837《火灾探测报警产品的维修保养与报废》执行。火灾探测报警产品使用寿命一般不超过12年,可燃气体探测器中气敏元件、光纤产品中激光器件的使用寿命不超过5年。产品达到使用寿命时,一般应报废。若继续使用,产品的使用或管理方应按该标准有关要求每年进行检测和试验,并进行系统性能测试,所有检测、试验和测试结果均合格后方可继续使用。
下一个新闻:返回列表
